Какие саморезы кровельные.
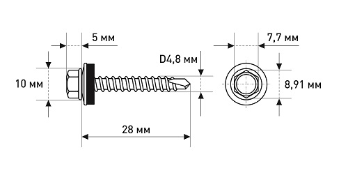
Кровельные саморезы предназначены для надежного и герметичного монтажа металлочерепицы и профнастила к деревянным или металлическим конструкциям. Отличаются от обычных они благодаря своей конструкции. Кровельные саморезы оснащены шестигранной головкой для надежного закручивания, EPDM-прокладкой для защиты от влаги и наконечником-сверлом, позволяющим производить монтаж без предварительного сверления. Эти особенности гарантируют водонепроницаемость соединения, защиту от коррозии и долговечность использования. Для дополнительной защиты от влаги и ржавчины саморезы производят из оцинкованной стали и покрывают цветной краской. EPDM-прокладка служит защитой от воды и оберегает покрытие от повреждений.
Ключевые отличия кровельных саморезов:

- Наличие EPDM-уплотнителя. Эластичной прокладки под шайбой, обеспечивающей герметичность и защиту от влаги.
- Прижимной шайбы, равномерно распределяющей давление, защищая кровельный материал от деформаций.
- Шестигранной головки, гарантирующей надежную фиксацию и высокий крутящий момент.
- Наконечника в виде сверла, который позволяет крепить материал к деревянной или металлической обрешетке без предварительного сверления.
- Основой самореза является углеродистая сталь с оцинкованным покрытием. Полимерное покрытие декорирует и защищает головку самореза, подбирается под цвет кровли.
Как подобрать кровельные саморезы.
Выбор подходящих кровельных саморезов – залог надежности и долговечности вашей кровли. При подборе следует учитывать несколько важных факторов:
- Тип основания (обрешетки). От того, из чего сделана обрешетка – из дерева или металла – зависит, какой тип самореза вам понадобится. Для деревянной обрешетки лучше всего подойдут саморезы с редкой и широкой резьбой. Они не разрушат древесину при вкручивании. Для металлической обрешетки потребуются саморезы с частой и узкой резьбой.
- Толщина конструкции. Определяет необходимую длину самореза.
- Материал самореза. Влияет на долговечность крепежа. Для защиты от ржавчины выбирайте саморезы из легированной нержавеющей стали или с цинковым покрытием.
- Наличие качественной EPDM-шайбы. Это уплотнительная шайба из вулканизированной резины. Она должна быть толщиной не менее 2 мм для обеспечения надежной и долговечной герметизации и защиты от коррозии.
- Цвет покрытия самореза должен подбираться под цвет кровельного материала. Покрытие должно быть равномерным, соответствовать цвету кровли по стандарту RAL и не иметь сколов и трещин.
- Убедитесь, что сверло на саморезе острое, без заусенцев и способно легко пройти через металл.
- Отдавайте предпочтение продукции известных брендов. На упаковке качественных саморезов всегда можно найти маркировку в виде клейма производителя. Это является признаком надежности продукции.
- Учитывайте тип кровельного материала. Для профнастила и металлочерепицы требуются саморезы с EPDM-шайбой, подобранные в цвет кровли. Для ондулина и мягкой черепицы лучше использовать специальные саморезы с увеличенной шляпкой, обеспечивающей более надежное крепление.
Кровельные саморезы размеры.

Кровельные саморезы выпускаются различной длины и диаметра. Наиболее часто встречаются диаметры 4,8 мм, 5,5 мм и 6,3 мм. Длина самореза подбирается исходя из материала, к которому он крепится, и типа монтируемого элемента.
Диаметр:
• 4,8 мм: Оптимальный выбор для работы с деревянными конструкциями.
• 5,5 мм и 6,3 мм: Рекомендуются для крепления к металлическим элементам, благодаря их большей прочности и размеру.
Длина:
• 19–35 мм: Идеальны для фиксации доборных элементов (например, планок и уголков) и кровельных листов к деревянной обрешетке.
• 50 мм: Подходят для монтажа металлочерепицы, профнастила и фальцевой кровли.
• 65–80 мм: Используются для надежного крепления более крупных доборных элементов, таких как коньки и ендовы, к более толстым основаниям.
• Более 80 мм: Необходимы для крепления к массивным металлическим конструкциям или при установке сложных кровельных систем.
Крашенные кровельные саморезы.

Покраска саморезов актуальна при монтаже сэндвич-панелей, заборов, кровли отделке фасадов и других работах, где важен эстетический вид. Самостоятельную окраску можно осуществить до и после после монтажа.
-
При окраске саморезов до монтажа - проще всего использовать аэрозольную краску из баллона. Перед покраской рекомендуется очистить шляпки ацетоном для лучшей адгезии краски. Саморезы закрепляются в мягком материале (например, пенопласте). Краска распыляется в 1, 2 слоя. Преимуществом данного способа является то, что краска не влияет на выкручивание. Недостаток - сложнее добиться точного совпадения оттенка с уже установленным крепежом в случае если это критично важно.
-
Окраску после монтажа проводят используя акриловую или алкидную краску, подобранную под цвет поверхности. Это даст дополнительную защиту от коррозии и придаст конструкции завершенный вид. Недостатком станет затруднение при последующем выкручивании, особенно при избытке краски.
Цвета кровельных саморезов.
Кровельные саморезы доступны в широком спектре цветов, соответствующих стандартной палитре RAL. Вы можете найти их практически в любом оттенке, от нейтральных белого и серого до ярких красного, синего, зеленого и землистых коричневых тов. Цвет саморезов обычно подбирается так, чтобы они максимально сливались с поверхностью кровли, делая их практически незаметными. Однако, при желании, можно использовать и контрастные цветовые решения.
Почему цвет саморезов имеет значение?
• Визуальная гармония. Подбор цвета саморезов в тон кровли (например, саморезы кровельные 5,5х19 RAL 7024 серый графит для серой крыши) позволяет им незаметно вписаться в общий вид, создавая единое аккуратное покрытие.
• Защитные свойства. Важно понимать, что не только цвет, но и качество покрытия самореза определяет его долговечность. Чем лучше окраска, тем надежнее защита крепежа от ржавчины.
Каталоги RAL. Обширный каталог цветов RAL содержит все востребованные оттенки, подходящие для кровельных материалов. Самый простой способ сделать выбор цвета – выбрать саморезы, цвет которых точно соответствует цвету вашей кровли. Альтернативный вариант – использовать саморезы другого цвета для создания выразительного контрастного эффекта. В итоге, цветовая палитра кровельных саморезов практически безгранична и выбирается по каталогу RAL, исходя из цвета кровли, для достижения желаемого эстетического результата.
Покраска саморезов.

Наша компания осуществляет покраску саморезов для кровли качественно и в срок. С нами всегда - качественный монтаж и привлекательный внешний вид!